Thursday February 2026

হটলাইন

কনটেন্টটি শেষ হাল-নাগাদ করা হয়েছে: বুধবার, ১০ জানুয়ারী, ২০১৮ এ ০২:০৩ AM

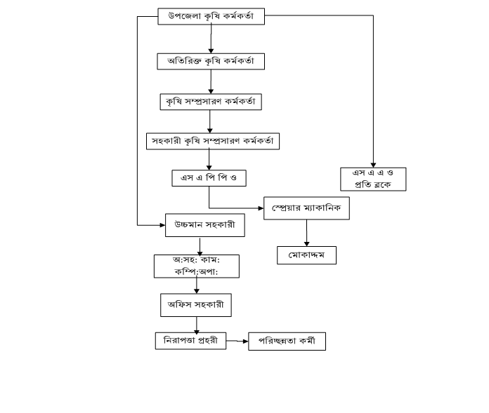
সাংগঠনিক কাঠামো

কন্টেন্ট: পাতা

ফাইল ১

এক্সেসিবিলিটি

স্ক্রিন রিডার ডাউনলোড করুন